تعد محرك فيراري V12 واحد من أعظم رموز الهندسة في عالم السيارات الخارقة، حيث تمثل مزيجًا فريدًا بين القوة الهائلة، الصوت الأسطوري، و الاستجابة الفورية التي لا يمكن تقليدها في أي نوع آخر من المحركات.
لكن اليوم، لا تكتفي فيراري بالحفاظ على إرثها التاريخي، بل تتجه نحو ثورة هندسية جديدة قد تغيّر مستقبل محركات الاحتراق الداخلي بالكامل، من خلال تطوير تصميمات مبتكرة تشمل تقنيات متقدمة في شكل المكابس داخل المحرك.
بداية تاريخ المحرك
منذ بداية تاريخها، اعتمدت فيراري على محركات V12 كهوية أساسية لها، و التي تم تطويرها لأول مرة على يد المهندس الشهير Gioachino Colombo، حيث وضع الأساس لتصميم محركات عالية الأداء أصبحت لاحقًا علامة مميزة لسيارات الشركة. هذا النوع من المحركات يعتمد على 12 أسطوانة مرتبة على شكل V بزاوية هندسية دقيقة تمنح توازنًا مثاليًا و سلاسة تشغيل استثنائية، مع قدرة على الوصول إلى دورات دوران تتجاوز 9000 RPM في بعض الإصدارات الحديثة.
محركات فيراري V12 التقليدية تعتمد على فلسفة التنفس الطبيعي Naturally Aspirated، و هو ما يعني غياب الشواحن التوربينية، بهدف تقديم استجابة مباشرة و سريعة لدواسة الوقود، و صوت محرك حاد يعتبر من أكثر الأصوات تميزًا في عالم السيارات الرياضية.
كما تستخدم فيراري تقنيات متقدمة مثل Variable Valve Timing للتحكم في توقيت الصمامات، و نظام حقن الوقود المباشر Direct Injection، مما يعزز الأداء و يقلل الانبعاثات في نفس الوقت.
محرك ال12 سلندر في العصر الحديث
من أبرز الأمثلة الحديثة على هذه التقنية نجد سيارة فيراري 812 Superfast التي تأتي بمحرك V12 سعة 6.5 لتر يولد قوة تقارب 800 حصان مع عزم دوران يصل إلى حوالي 718 نيوتن متر ، مما يسمح لها بالتسارع من 0 إلى 100 كم/س في أقل من 3 ثواني فقط.
كذلك سيارة Ferrari 12Cilindri التي تمثل الجيل الأحدث من محركات V12، وتنتج حوالي 830 حصان مع عزم دوران يقارب 678 نيوتن متر ، مع تحسينات كبيرة في الكفاءة و الاستجابة.
فيراري و براءات اختراع جديدة
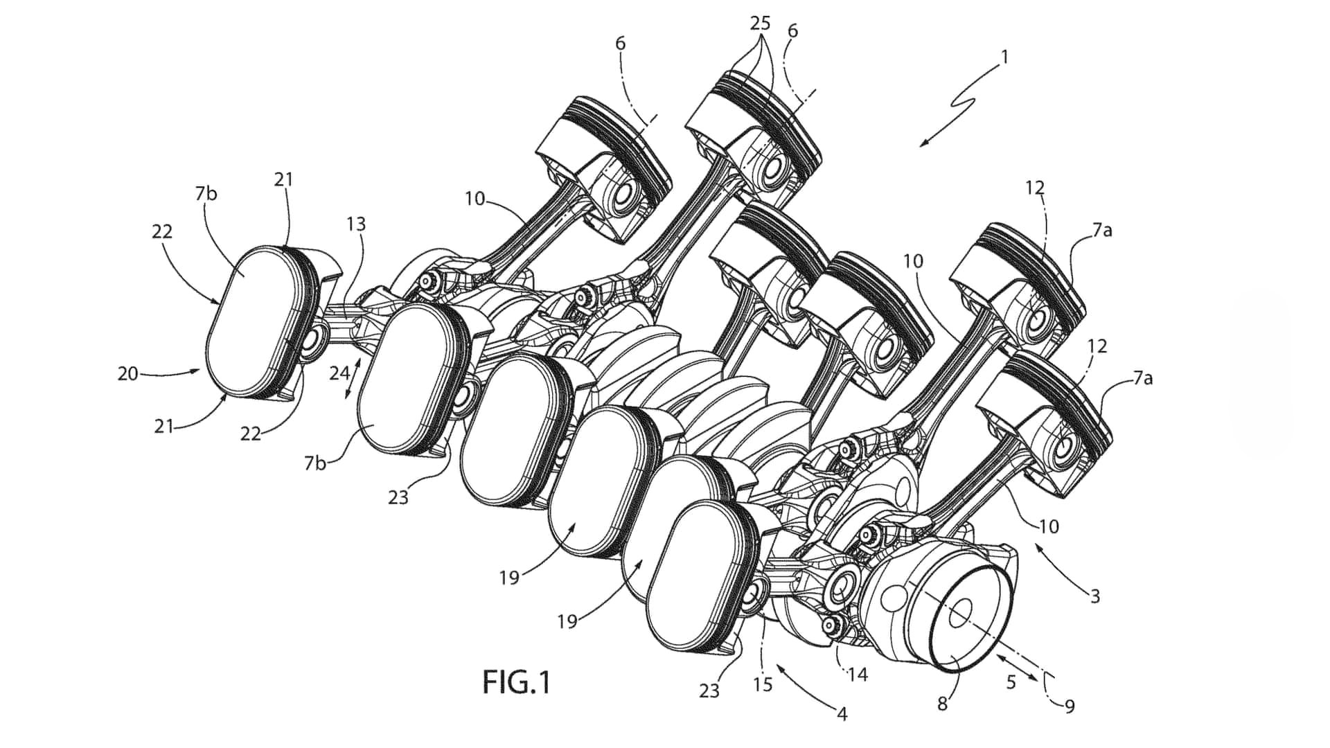
لكن في الوقت الذي تتطور فيه محركات V12 التقليدية، تستكشف فيراري مستقبلًا أكثر جرأة عبر براءات اختراع جديدة تكشف عن تصميم غير تقليدي للمكابس داخل المحرك. هذا التصميم يعتمد على مكابس بيضاوية أو ما يشبه “شكل حبة الدواء”، بدلًا من الشكل الدائري التقليدي، و هو تغيير جذري في هندسة محركات الاحتراق الداخلي.
الفكرة تقوم على أن المكابس البيضاوية تكون أطول في اتجاه و أقصر في اتجاه آخر، مما يسمح بتقريب الأسطوانات من بعضها داخل كتلة المحرك، و بالتالي تقليل الحجم الكلي للمحرك بشكل كبير.
هذا الابتكار قد يكون مهمًا جدًا خصوصًا في محركات الأداء العالي مثل V12، أو في السيارات المستقبلية ذات المحركات المثبتة في المنتصف أو الأنظمة الهجينة.
التصميم الجديد المقترح من فيراري
التصميم الجديد المقترح من فيراري لا يهدف فقط لتقليل الحجم، بل أيضًا لتحسين الكفاءة و تقليل الاحتكاك الداخلي، و هو أحد أكبر مصادر فقدان الطاقة في المحركات التقليدية. من خلال استخدام محور دوران مشترك بين مكبسين متقابلين، يمكن تقليل عدد الأجزاء المتحركة، مما يؤدي إلى تبسيط عملية التصنيع و زيادة الكفاءة الميكانيكية.
كما أن تقليل الحركة الجانبية للمكابس داخل الأسطوانة يساعد على تقليل التآكل و تحسين عمر المحرك، بالإضافة إلى تحسين تدفق الهواء و احتراق الوقود داخل غرفة الاحتراق. هذه التحسينات قد تؤدي إلى زيادة القوة الناتجة لكل شوط، مع تحسين استهلاك الوقود و تقليل الانبعاثات، و هو أمر بالغ الأهمية في ظل القوانين البيئية الصارمة عالميًا.
هل فكرة المكابس جديدة بالكامل
و رغم أن فكرة المكابس غير التقليدية ليست جديدة بالكامل، حيث سبق أن جربتها شركات مثل Honda في بعض التطبيقات، إلا أن نهج فيراري يختلف كليًا من حيث الهدف و التكنولوجيا المستخدمة. فاليوم، تعتمد فيراري على أدوات متقدمة مثل المحاكاة الحاسوبية، الذكاء الهندسي، سبائك المعادن الحديثة، و تقنيات التصنيع الإضافي (3D Printing)، مما يجعل تنفيذ هذه الأفكار أكثر واقعية من أي وقت مضى.
الهدف النهائي من التطوير
الهدف النهائي من هذا التطوير هو الحفاظ على هوية محركات فيراري V12 الأسطورية، مع جعلها قادرة على التكيف مع المستقبل الذي يتطلب كفاءة أعلى و انبعاثات أقل. و في نفس الوقت، تسعى فيراري للحفاظ على تجربة القيادة الفريدة التي تتميز بالصوت القوي، الاستجابة الفورية، و الإحساس الميكانيكي المباشر الذي يعشقه عشاق العلامة الإيطالية.
في المستقبل، قد تمثل هذه التقنيات جيلًا جديدًا من محركات الاحتراق الداخلي التي تجمع بين القوة التقليدية و الابتكار الحديث، و ربما تعيد تعريف مفهوم محركات V12 نفسها داخل سيارات فيراري القادمة. و رغم عدم وجود جدول زمني رسمي لتطبيق هذه التقنية، إلا أن مجرد تسجيل براءة الاختراع يؤكد أن فيراري لا تزال تبحث عن طرق جديدة لتطوير محركاتها بدلًا من التخلي عنها.
الختام
في النهاية، يمكن القول إن فيراري لا تعمل فقط على تطوير محركات أسرع، بل على إعادة ابتكار محرك الاحتراق الداخلي بالكامل، بحيث يبقى محرك V12 رمزًا للقوة و الأداء، و لكن في شكل أكثر كفاءة، تطورًا، و استدامة، ليبقى اسم فيراري في صدارة عالم السيارات الخارقة لعقود قادمة.









