Close Menu
عرب اوتو هب
  • الرئيسية
  • موسوعة السيارات
  • اخبار السيارات
    • اخبار محلية
    • السيارات الاختبارية
    • سيارات كلاسك
    • اخبار الشركات المصنعة
    • سيارات معدلة
    • السيارات الرياضية
    • اخبار منوعة
    • معارض وفعاليات
    • تكنولوجيا و معلومات

Subscribe to Updates

Get the latest creative news from FooBar about art, design and business.

What's Hot

خمسة سيارات رياضية ألمانية نادرة تستحق أن تعود إلى الواجهة

مايو 1, 2026

بويك الكترا رؤية خيالية لمستقبل السيارات

مايو 1, 2026

شيري تيجو X وحش هجيني بقوة 476 حصان و مدى 1500 كم

مايو 1, 2026
فيسبوك X (Twitter) الانستغرام
عرب اوتو هبعرب اوتو هب
  • الرئيسية
  • موسوعة السيارات
  • اخبار السيارات
    1. اخبار محلية
    2. السيارات الاختبارية
    3. سيارات كلاسك
    4. اخبار الشركات المصنعة
    5. سيارات معدلة
    6. السيارات الرياضية
    7. اخبار منوعة
    8. معارض وفعاليات
    9. تكنولوجيا و معلومات
    10. مشاهدة الكل

    لينك اند كو 900 و روكس 01 و صراع الفخامة الصينية في مصر بالمواصفات و الاسعار

    مارس 27, 2026

    شيري تيجو 7 برو ماكس 2026 في مصر بتجهيزات فاخرة و سعر مفاجأة يقلب موازين فئة SUV

    مارس 26, 2026

    مقارنة بين سمارت #5 و زيكر 7X في السوق المصري أيهما تقدم الأداء و التكنولوجيا الأفضل و السعر المناسب

    مارس 10, 2026

    دونج فينج مايج 2026 المواصفات و الأسعار للوحش الجديد في مصر

    فبراير 21, 2026

    بويك الكترا رؤية خيالية لمستقبل السيارات

    مايو 1, 2026

    شيري تيجو X وحش هجيني بقوة 476 حصان و مدى 1500 كم

    مايو 1, 2026

    جيتور و حضور لافت في معرض بكين 2026

    مايو 1, 2026

    شيري فولوين A9 واجن الكهربائية تظهر في معرض بكين 2026 بمدى 700 كم و شحن فائق بسرعة 800 فولت

    أبريل 30, 2026

    خمسة سيارات رياضية ألمانية نادرة تستحق أن تعود إلى الواجهة

    مايو 1, 2026

    فانتوم كورسير 1938 التحفة السوداء الغامضة التي لم يصنع منها سوى نسخة واحدة فقط

    أبريل 29, 2026

    خمس سيارات رياضية بريطانية نادرة مذهلة لم تسمع عنها من قبل

    أبريل 28, 2026

    لامبورجيني تعيد مجد الأسطورة ميورا بتحفة ترميم تبهر عشاق السيارات الكلاسيكية

    أبريل 27, 2026

    انسحبت شركة بورش من شركتي بوجاتي و ريماك، و بداية فصل جديد مع عائلة ساويرس و شركائها

    أبريل 26, 2026

    استدعاء ضخم من جاكوار لاندروفر لأكثر من 170 ألف سيارة

    أبريل 26, 2026

    هيونداي تبدأ اختبار الجيل الجديد من محركات N عالية الأداء في نوربورجرينج

    أبريل 26, 2026

    بولستار تشن هجوماً على قطاع السيارات الهجينة القابلة للشحن و تكشف عن الأسباب

    أبريل 21, 2026

    تويوتا لاندكروزر 250 تتحول إلى وحش عريض مع ليبرتي ووك

    أبريل 29, 2026

    بي ام دبليو M4 CSL عندما تتحول إلى وحش بقوة تتجاوز الـ900 حصان من مانهارت

    أبريل 27, 2026

    فيراري SF90 كيفاني الظل الأبيض الذي تخطى حدود الجرأة في التعديل

    أبريل 27, 2026

    فيراري 458 سيارة إيطالية ممزوجة بروح التعديل الياباني

    أبريل 27, 2026

    سكودا تحتفل بمرور 125 عامًا على تاريخها العريق في عالم سباقات الراليات

    فبراير 24, 2026

    أزمة محركات مرسيدس تهدد موسم الفورمولا 1 لعام 2026

    ديسمبر 23, 2025

    اكسيد تلفت أنظار عشاق السيارات في معرض بكين بالكشف عن أحدث ما في ترسانتها

    أبريل 30, 2026

    جيلي إمجراند i-HEV تسجل رقماً قياسياً عالمياً في كفاءة استهلاك الوقود بـ2.22 لتر لكل 100 كم

    أبريل 30, 2026

    شيري أريزو S تظهر في بكين بروح اودي و قوة 258 حصان

    أبريل 30, 2026

    هافال H9 موديل 2026 تعود بقوة متوحشة و قدرات خرافية

    أبريل 29, 2026

    معرض بكين للسيارات 2026 و أفضل السيارات التي خطفت الأضواء

    أبريل 28, 2026

    معرض بكين 2026 و خيال مصممي السيارات الصينية

    أبريل 28, 2026

    عودة معرض بورشه Air Water إلى كاليفورنيا بروح الابتكار و عبق الأصالة

    أبريل 2, 2026

    بوجاتي بوليد تغزو حلبة ميامي للفورمولا 1 بتجربة لا يعيشها إلا المحترفون

    مارس 10, 2026

    تشانجان CS75 بلس HEV الهجينة الجديدة بأول نظام حقن مباشر بضغط 500 بار

    أبريل 17, 2026

    شركة Seres تكشف عن براءة اختراع مرحاض مخفي داخل السيارة بابتكار يثير الجدل في عالم السيارات

    أبريل 17, 2026

    محرك جيلي i-HEV الهجين الذي حصل على شهادة جينيس بحرق 2.22 لتر فقط لكل 100 كم

    أبريل 17, 2026

    مرسيدس EQS 2027 تدخل عصر التوجيه الإلكتروني الكامل بمقود يوك لتغير تجربة القيادة

    أبريل 7, 2026

    خمسة سيارات رياضية ألمانية نادرة تستحق أن تعود إلى الواجهة

    مايو 1, 2026

    بويك الكترا رؤية خيالية لمستقبل السيارات

    مايو 1, 2026

    شيري تيجو X وحش هجيني بقوة 476 حصان و مدى 1500 كم

    مايو 1, 2026

    جيتور و حضور لافت في معرض بكين 2026

    مايو 1, 2026
فيسبوك الانستغرام
عرب اوتو هب
الرئيسية»اخبار الشركات المصنعة»هل تحول البراغي الجديدة من بي إم دبليو الصيانة الذاتية إلى مهمة شبه مستحيلة
هل تحول البراغي الجديدة من بي إم دبليو الصيانة الذاتية إلى مهمة شبه مستحيلة - عرب اوتو هب
Mass Image Compressor, Quality:60
اخبار الشركات المصنعة

هل تحول البراغي الجديدة من بي إم دبليو الصيانة الذاتية إلى مهمة شبه مستحيلة

ديسمبر 24, 2025لا توجد تعليقات
Mass Image Compressor, Quality:60
Mass Image Compressor, Quality:60
Mass Image Compressor, Quality:60
شاركها
فيسبوك تويتر بينتيريست

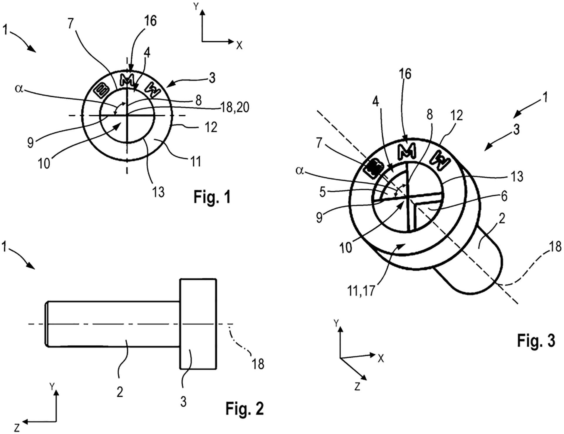
في عالم يسعى فيه العديد من مصنعي السيارات لجعل الصيانة أبسط و أسهل، قررت BMW أن تسلك طريقًا مختلفًا تمامًا، و ربما أكثر تعقيدًا. ففي خطوة أثارت الكثير من الجدل، قامت الشركة الألمانية مؤخرًا بتسجيل براءة اختراع لتصميم جديد لبراغيها لكن ليس براغي عادية  إنها براغي تحمل شكل شعار BMW نفسه.

نعم، الأمر حقيقي، و لن يكون استخدام المفكات العادية كافيًا بعد الآن إذا انتشرت هذه البراغي في سيارات BMW.

المحتوى إخفاء
1 فكرة التصميم: البرغي الذي يحمل توقيع BMW
2 الكابوس الحقيقي لمالكي السيارات و الميكانيكيين
3 ردة الفعل: الإنترنت يسخر و يستعد
4 هل ستصل براغي BMW الجديدة إلى خطوط الإنتاج
5 نقطة في بحر التغييرات

فكرة التصميم: البرغي الذي يحمل توقيع BMW

براءة الاختراع التي تم تقديمها في يونيو 2024 و كُشف عنها في ديسمبر 2025، تكشف عن أربعة أشكال مختلفة لرؤوس براغي، كلها مستوحاة من شعار BMW الدائري ذو الأرباع الأربعة. كل واحدة منها تأتي بتصميم خاص:

  • رأس مقبس (Socket-style)
  • رأس مسطح (Flat-head)
  • رأس محدّب (Rounded-head)
  • رأس مميز بشعار BMW المُقسم إلى أرباع

الفكرة في ظاهرها قد تبدو فريدة، وربما تضفي لمسة من الفخامة أو التميّز البصري عند استخدام هذه البراغي في أماكن مرئية داخل المقصورة أو حجرة المحرك.

لكن ماذا عن الصيانة ؟

هل تحول البراغي الجديدة من بي إم دبليو الصيانة الذاتية إلى مهمة شبه مستحيلة - عرب اوتو هب
Mass Image Compressor, Quality:60

الكابوس الحقيقي لمالكي السيارات و الميكانيكيين

إذا كنت من محبّي إصلاح سيارتك بنفسك، أو من أصحاب الورش المستقلة الذين يعتمدون على أطقم الأدوات التقليدية، فهذه البراغي ليست أخبارًا سعيدة على الإطلاق.

لماذا؟ لأن هذه البراغي لن تفتح بمفكاتك المعتادة، بل ستحتاج إلى أداة مصممة خصيصًا لتناسب تعرجات شعار BMW. و بهذا، ستصبح مهام بسيطة كاستبدال قطعة أو فحص مكوّن ميكانيكي رحلة معقدة  إلا إذا كنت تعمل في مركز صيانة تابع للشركة أو تمتلك أدوات نادرة باهظة السعر.

ردة الفعل: الإنترنت يسخر و يستعد

لم تترك مجتمعات السيارات و محبي التفاصيل الصغيرة هذه الخطوة تمر مرور الكرام. مواقع مثل Reddit و منتديات عشاق السيارات امتلأت بالتعليقات الساخرة:

– “سوف تظهر نُسخ من هذه المفكات على علي إكسبرس أسرع من نزول أول سيارة تحتوي على برغي واحد منها.”
– “هذه ليست براءة اختراع، هذا إعلان حرب على محبي الصيانة الذاتية!”

هناك من يشير إلى أن شركات التزويد الخارجي ستسرع في تطوير أدوات مطابقة لمثل هذه البراغي فور بدء الإنتاج، لكن تبقى الفكرة في حد ذاتها مصدر قلق و تخوّف للكثيرين.

هل تحول البراغي الجديدة من بي إم دبليو الصيانة الذاتية إلى مهمة شبه مستحيلة - عرب اوتو هب
Mass Image Compressor, Quality:60

هل ستصل براغي BMW الجديدة إلى خطوط الإنتاج

رغم كل الجدل، لا يوجد أي تأكيد بأن هذه البراغي ستُعتمد فعليًا في سيارات BMW القادمة. فبعض براءات الاختراع تبقى على الورق فقط و لا ترى التطبيق على الأرض.

و مع ذلك، تبعث هذه الخطوة برسالة قد تكون مقلقة: هل بدأت شركات السيارات في جعل أعمال الصيانة أصعب عمدًا في عصر تزداد فيه التقنيات الكهربائية و التعقيدات الإلكترونية، يشعر الكثير من المالكين بأن التحكم بالسيارة بدأ يفلت من أيديهم.

نقطة في بحر التغييرات

الواقع أن BMW ليست وحدها من تختبر توجهات مستقبلية كهذه. ففي الوقت الذي تحاول فيه مرسيدس تبسيط تغيير المصابيح عبر استبدال الغراء بالبراغي، تأتي BMW لتظهر نموذجًا عكسيًا براغي بتصميم يبعدك فعليًا عن فتحها بنفسك.

قد تكون هذه البراغي شعارًا جديدًا لمرحلة يصبح فيها كل شيء محصورًا داخل مراكز الخدمة الرسمية، حتى لو كان مجرد “برغي واحد”.

و ها نحن اليوم، لا نتحدث فقط عن المحركات أو أنظمة الدفع، بل حتى عن البراغي كيف ستبدو و من يمكنه فكّها صيانة السيارات أصبحت معركة هندسية معلنة.

شاركها. فيسبوك تويتر بينتيريست واتساب
السابقهل ما زال يمكن الوثوق بالروبوتاكسي بعد استدعاء سيارات Zoox ذاتية القيادة لتجاوزها لخطوط المسارات
التالي R7 لوكسيد SUV صينية متطورة من هواوي و شيري جاهزة للمنافسة

المقالات ذات الصلة

انسحبت شركة بورش من شركتي بوجاتي و ريماك، و بداية فصل جديد مع عائلة ساويرس و شركائها

أبريل 26, 2026

استدعاء ضخم من جاكوار لاندروفر لأكثر من 170 ألف سيارة

أبريل 26, 2026

هيونداي تبدأ اختبار الجيل الجديد من محركات N عالية الأداء في نوربورجرينج

أبريل 26, 2026

بولستار تشن هجوماً على قطاع السيارات الهجينة القابلة للشحن و تكشف عن الأسباب

أبريل 21, 2026
اخترنالك

خمسة سيارات رياضية ألمانية نادرة تستحق أن تعود إلى الواجهة

مايو 1, 2026

بويك الكترا رؤية خيالية لمستقبل السيارات

مايو 1, 2026

شيري تيجو X وحش هجيني بقوة 476 حصان و مدى 1500 كم

مايو 1, 2026

جيتور و حضور لافت في معرض بكين 2026

مايو 1, 2026




اقراء ايضاً
سيارات كلاسك

خمسة سيارات رياضية ألمانية نادرة تستحق أن تعود إلى الواجهة

عندما نسمع كلمة السيارات الرياضية الألمانية، يخطر في بالنا فورًا أسماء مثل بورشه 911 و…

بويك الكترا رؤية خيالية لمستقبل السيارات

مايو 1, 2026

شيري تيجو X وحش هجيني بقوة 476 حصان و مدى 1500 كم

مايو 1, 2026

جيتور و حضور لافت في معرض بكين 2026

مايو 1, 2026
الاخبار
  • اخبار الشركات المصنعة
  • اخبار محلية
  • اخبار منوعة
  • السيارات الاختبارية
  • السيارات الرياضية
  • تحدي السيارات
  • تكنولوجيا و معلومات
  • رياضة السيارات
  • سيارات كلاسك
  • سيارات معدلة
  • معارض وفعاليات
موسوعة السيارات
  • SUV
  • بنزين
  • رياضية
  • ستيشن
  • سيارات نقل
  • سيدان
  • غاز
  • فان
  • كهربائية
  • كوبية
  • مكشوفة
  • نقل
  • هاتشباك
  • هايبريد
  • هيدروجين
فيسبوك الانستغرام
© 2026 NRG

اكتب كلمة البحث ثم اضغط على زر Enter