في عالم الشاحنات، يتكرر سؤال مهم كيف نصنع شاحنة قوية و عملية، و في الوقت نفسه، أكثر انسيابية و كفاءة في استهلاك الوقود ؟ شركة ستيلانتس يبدو أنها تملك إجابة مبتكرة قد تُحدث فرقًا في هذا المجال.
مؤخرًا، تقدمت الشركة بطلب تسجيل براءة اختراع في الولايات المتحدة لغرض تطوير غطاء صندوق شاحنة قابل للتعديل و الانحدار، يحمل في طياته فكرة جديدة تجمع بين التصميم العملي والديناميكا الهوائية المحسّنة.
ما القصة
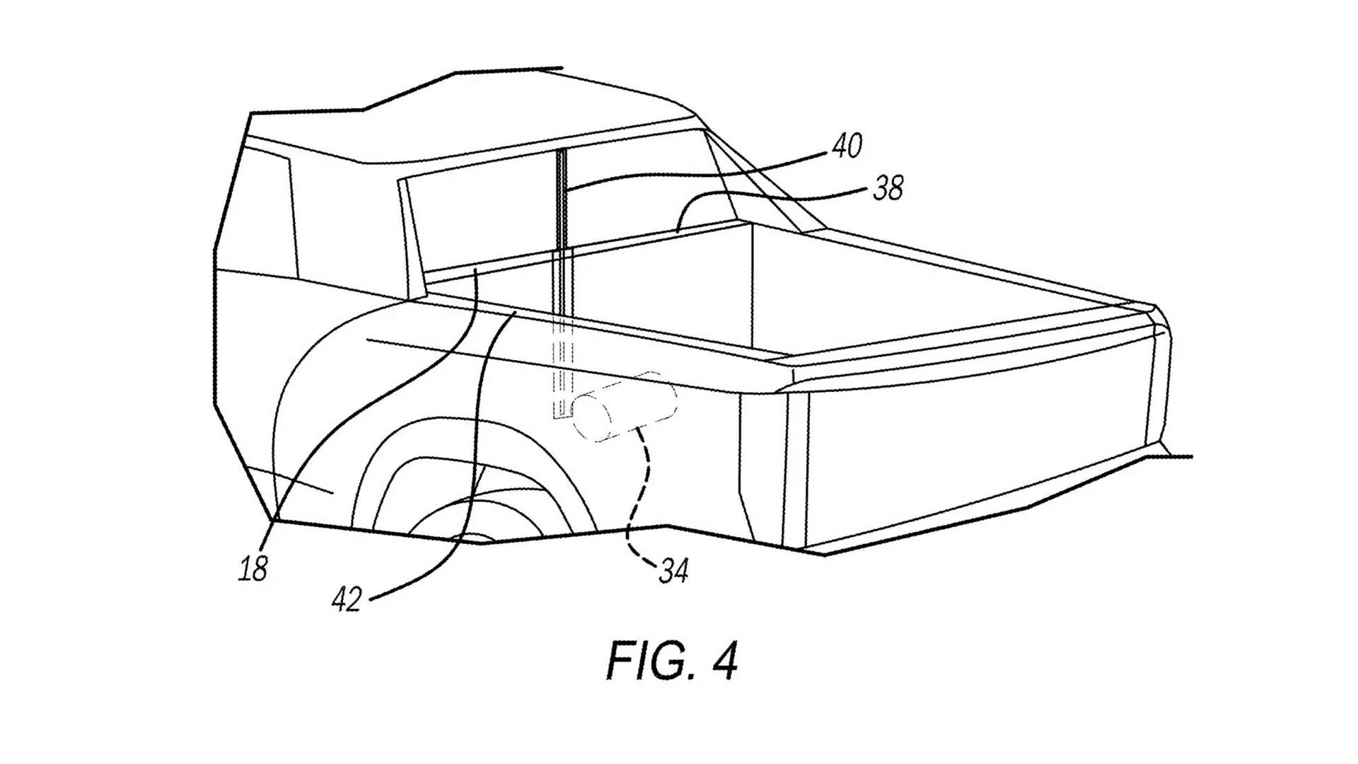
غالبًا ما يكون غطاء الصندوق الخلفي في الشاحنات مسطحًا، هدفه الأساسي تغطية الحمولة وحمايتها. لكن ستيلانتس تخطو خطوة أبعد. الفكرة الجديدة تعتمد على وجود ألواح داخلية قابلة للتحرك داخل جدران الصندوق الخلفي. عند الحاجة، يمكن لهذه الألواح أن ترتفع بزاوية مائلة لتُشكل غطاء بانحدار مشابه لتصميم “فاستباك” المعروف في بعض السيارات الرياضية.
هذه الآلية الجديدة لا تضيف فقط لمسة تصميمية مستقبلية، بل تحمل فوائد عملية أيضًا:
- تحسين الديناميكا الهوائية: الغطاء المائل يساهم في تقليل المقاومة الهوائية عند القيادة بسرعات عالية.
- زيادة توفير الوقود: نظرًا لانخفاض مقاومة الهواء، يمكن أن تقدم الشاحنة أداءً أفضل في اقتصاد الوقود.
- توسيع مساحة التخزين المحمية: الشكل المائل يوفر حيز تحميل أكبر تحت الغطاء، دون التضحية بالحماية أو الأمان.
هل نحن أمام نسخة من سايبرتراك
قد لا يبتعد التصميم كثيرًا من ناحية الشكل عن ستايل شاحنة تيسلا الأشهر “سايبرتراك”، لكنه يميل أكثر لأن يكون حلاً عمليًا يمكن أن يعمل على شاحنات احتراق داخلي تقليدية أو سيارات كهربائية مستقبلية ضمن أسطول ستيلانتس.
كما تشير الرسومات المرفقة في براءة الاختراع، هناك حتى جناح صغير خلفي قابل للطي في نهاية الغطاء، مصمم ليُساهم في تحسين تدفق الهواء عند السرعة، مما يعكس تركيزًا واضحًا على الأداء الكلي و ليس المظهر فقط.
هل سنراها قريبًا في الأسواق
كما هو حال كثير من براءات الاختراع، لا يعني تسجيل الفكرة أنها سترى النور في القريب العاجل. غالبًا ما تبقى هذه الأفكار في مرحلة التطوير سنوات، و إن وصلت للإنتاج، فمن المتوقع أن تُقدم كخيار إضافي مرتفع السعر، لا كميزة أساسية في الطرازات.
و مع ذلك، فكرة غطاء صندوق شاحنة قابل للتعديل والانحدار تُعبر عن توجه واضح لدى ستيلانتس، وتحديدًا سعيها لدمج التصميم الحديث مع متطلبات المستخدم العملية، في وقت تزداد فيه المنافسة في سوق الشاحنات الذكية.
هل يمكن أن يحدث فرقًا
لنفكر للحظة سائق شاحنة يقود على طريق سريع لمسافة طويلة. بدلًا من الاستسلام للهواء المعاكس و الاعتماد الكامل على محركه، يمنحه هذا الغطاء تصميمًا ديناميكيًا يُقلل من الجهد المطلوب، و يوفر الوقود، و ربما يزيد من راحته و استقراره.
ربما نرى في المستقبل كثيرًا من الشاحنات يختلط فيها الشكل الهندسي الحاد بمفاهيم الذكاء الايروديناميكي. ستيلانتس تخطت التصميم التقليدي لصندوق الشاحنة، نحو مفهوم أكثر تطورًا وكفاءة.
خلاصة
غطاء صندوق شاحنة قابل للتشكل و الانحدار قد يكون مجرد فكرة على الورق الآن، لكنه يُمثل رؤية جديدة لطبيعة الشاحنات الحديثة: مركبات قوية، مرنة، و تفكر في كل التفاصيل و ايضا حركة الهواء.
تنتظرنا تغييرات مثيرة في عالم الشاحنات، و يبدو أن ستيلانتس تريد أن تكون في المقدمة.





